Giradischi a sfera
Giradischi a sfera
291,36 €
Informazioni sul prezzo
Prezzo di listino446,91 €
Prezzo Internet291,36 €
Prezzo incl. tasse (0.00% - United States)*
Numero dell'articolo: 403752.001
EAN: 4250269225997
EAN: 4250269225997
Immediatamente disponibile
Stock a portata di mano: 99+
Quantità
Pagamento diretto con Paypal:
*Tutti i prezzi sono comprensivi di IVA e non includono le spese di spedizione. Il prezzo web indicato vale solo per gli ordini in questo negozio online. I nostri collaboratori non hanno la possibilità di concedervi queste condizioni per ordini via telefono, fax o e-mail.
Prezzi al: 20.08.2024
Numero dell'articolo
403752.001
Designazione
950L
Tipo_Serie
Serie L
sfera
14 mm
Carico assiale
3.5
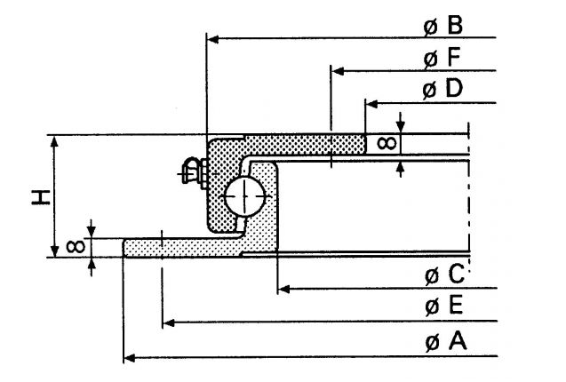
A
950 mm
B
892 mm
C
842 mm
D
780 mm
F
810 mm
G
8 mm
E
925 mm
H
45 mm
EAN
4250269225997
Produttore
Knott
Merci ingombranti
Sì
Peso
30.5 kg
Anello di sterzo a sfere Jost
Serie L
L'unità di rotazione è priva di fori, che possono essere praticati con un trapano.
Per rimorchi agricoli e mezzi di trasporto fino a 30 km/h
Serie L
L'unità di rotazione è priva di fori, che possono essere praticati con un trapano.
La piattaforma girevole è scorrevole e può essere ruotata a mano
Nota bene:
Le sfere non devono essere saldate!
Riempire sempre completamente di grasso prima del primo utilizzo
Per rimorchi agricoli e mezzi di trasporto fino a 30 km/h










